Having owned a BMW from the mid-2000s, I’m acutely aware of the existence of seat occupancy sensors. These sensors are embedded into the seats of pretty much every car on sale today, and detect whether someone’s, well, occupying the seat. These sensors then relay that information back to the car, informing the computer about stuff like which seat belts should be buckled, and in some vehicles, whether to arm the passenger-side airbag.
A new patent filed by Mercedes-Benz is reinventing the idea of seat occupancy sensors by throwing them out entirely in favor of a new method for detecting how many people are inside a vehicle, and who’s sitting where.
Before diving into Mercedes’ idea, it’s worth explaining how seat occupancy sensors normally work. FSRTEK, a producer of these sensors, explains how exactly they detect whether someone’s ass is in a seat:
The car seat sensor is a flexible, contact sensor. Because the contact is composed of silver paste, ink and other components, it is evenly dispersed on the surface of the force. When external pressure is generated, it will trigger a signal to achieve detection. There are a variety of seat-related purposes such as whether there are people in the seat, whether the sitting posture is safe, whether the seat belt is standardized, and so on.

Some modern seat occupancy sensors are fancier than others, able to detect the weight of whoever is sitting in the seat to determine how the car’s airbag will function. These fancier sensors are called occupant classification systems (OCS). Here’s how they differ, according to the collision repair experts at I-CAR:
OCS have been an integral part of supplemental restraints systems (SRS) since the early 2000s. They are an important part of making sure the air bag properly protects the passenger. Designed for detecting passenger presence and weight, they may also be able to detect if a child or small adult is in the seat. This is vital to making sure the passenger air bag deploys only under the correct circumstances.
The system typically consists of a weight sensor, seat position sensor, and a control module. The weight sensor may be a bladder-style sensor, strain gauges, or a pressure-sensitive mat. Often, there is a switch for disabling the passenger air bag.
OCS devices are the reason you don’t see those keyholes for turning the passenger airbag on and off on newer cars—the car does the math for you, so if you get in a crash with your kid or some other lightweight individual in the passenger seat won’t get injured by the airbag’s detonation.
It’s a pretty good idea, and one that most people will never even know exists. But if you’re someone like me, you know seat occupancy sensors can be a huge pain to fix when they go bad. Back in 2020, when I still owned my 2008 BMW M5, the passenger-side occupancy sensor went bad, triggering the car to display an airbag light and a seatbelt alert.

The only way to fix the sensor is to replace it, which would’ve required the entire seat to come apart—something I couldn’t do myself, and would’ve cost me over $1,000 to pay someone to do for me. The only other solution was to buy a little dongle from eBay that plugs into the car under the seat, which would emulate a working sensor, essentially tricking the car into thinking there was always someone sitting and buckled in the passenger seat. The dongle cost me about $57, so that’s the route I went. It only takes a few minutes of searching the web to see dozens of others dealing with this same problem on all sorts of cars.
This Mercedes Patent Chucks That Whole System In The Trash
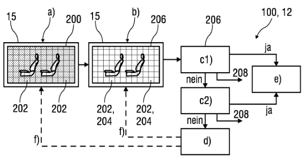
The idea, published to the World Intellectual Property Organization last week, describes a method for detecting seat occupancy by using a camera rather than any physical sensors. It works by taking a picture of the cabin from the rear-view mirror area, then running the photo through an algorithm to determine whether people are sitting in seats. Here’s how it’s described by the WIPO page:
The invention relates to a method and/or a device for detecting a seat occupancy in a vehicle, characterized by the following method steps (a to d): a) capturing at least one image with a first resolution of pixels by an image sensor, wherein the image sensor is divided into a grid of polygons, b) summarizing those pixels of the captured image that lie within a polygon to form a sum pixel value and summarizing all sum pixel values of all polygons to form an aggregated image, c) examining the aggregated image by at least one of two predetermined image recognition algorithms (c1), c2)), c1) with a first image recognition algorithm (c1)) to detect a presence of a person and optionally to terminate the first image recognition algorithm (c1)) if a person has been detected, and c2) with a second image recognition algorithm (c2)) for detecting a vehicle seat and optionally for terminating the second image recognition algorithm if a vehicle seat without a person using it has been detected, and d) optionally recording at least one further image with a second resolution of pixels by the image sensor (15) if neither a person nor a vehicle seat has been detected, and optionally repeating the method steps (a/b) to c1/c2/d)) until one of the two image recognition algorithms (c1), c2)) is or is terminated.

While seat occupancy sensors aren’t particularly heavy, having, say, five of them installed into seats throughout a car is still heavier than having one small camera facing the cabin. And that camera is far easier and cheaper to replace. Mercedes doesn’t mention either weight or ease of replacement, but rather the accuracy of such a system over traditional sensors as the main benefit, even when using low-quality photos. From the patent:
The advantage of the invention is, in particular, that due to the aggregation of pixels of a polygon or multiple polygons of the recorded image into a single pixel value or sum pixel value of the polygon and the aggregation of all sum pixel values of all polygons into an aggregated image and their processing using two different image recognition algorithms, even low-quality images are sufficient to detect whether a person is sitting in the vehicle or not. The lower quality of the images can be sufficient for the respective specific image recognition algorithm to detect whether or not a person is in the vehicle or on a seat. In particular, the two differently configured image algorithms allow lower-quality images to be evaluated more quickly and reliably with regard to seat occupancy in the vehicle. If the quality of the images is not sufficient for either of the two image algorithms, repeating process steps a)/b) to c1)/c2/d) by taking images with a higher quality, with a better resolution, in particular a higher pixel resolution and/or a higher raster resolution, and processing them using one or both of the image recognition algorithms can make it possible to detect more quickly and reliably whether a person is sitting on a vehicle seat or not.

Mercedes even mentions a feature that could call out an already-identified occupant for sitting in their seat incorrectly—something that a normal occupancy sensor might not be smart enough to do:
In addition, a higher resolution can be used by the image recognition algorithms to carry out an additional analysis, for example to more closely identify a person who has already been detected and/or to determine whether the seating position of the detected person is sufficient to meet safety functions and/or safety requirements in the vehicle.
While there are some obvious privacy concerns with having a camera pointed towards the occupants of cars, it’s worth highlighting that Mercedes has been putting cabin-facing cameras in its cars for years now. So seeing something like this isn’t exactly surprising.
As a chronic third-owner of depreciated, crumbling German luxury cars, I’m all for this idea. If letting a Mercedes algorithm analyze my face means I don’t have to deal with sensors going bad, then so be it.
Top graphic images: Mercedes-Benz; Logitech









I see this primarily as a weight saving method along with the reduced hardware complexity. Of course the tradeoff is more complicated software complexity, but additions to software doesn’t cause a weight change.
Cheaper to replace maybe, cheaper for mercedes to install in the first place is why they would do it. Replacing it yourself will probably be impossible because it needs some kinda calibration.
You can tell this wasn’t intended for public consumption by the lack of AI buzzwords in the description.
Side note: At least in my gen 2 Prius, you can disable the beeping for an unbuckled occupant in the passenger seat, but you have to actually be sitting in the passenger seat to do it. If there’s no weight on the sensor the Konami code doesn’t do anything.
“As a chronic third-owner of depreciated, crumbling German luxury cars, I’m all for this idea. If letting a Mercedes algorithm analyze my face means I don’t have to deal with sensors going bad, then so be it.”
You say that now Brian, but just wait until some future biotech subsidiary owned by Mercedes Benz starts marketing a Brian Silvestro service android. I bet you won’t be so happy about the camera then. 😉
I say this as a former Mercedes, Audi, and VW owner who knows all too well the pain they cause as they age.
I don’t celebrate this, you’re taking one complicated system, that is mostly impossible to repair; and replacing it with another, that is also capable of livestreaming me picking my nose when I’m stuck in traffic.
The flash storage they are undoubtedly using to store the images is going to fail at some point. Especially if they are doing active monitoring IE taking near continual pictures for analysis. When that fails, you won’t be able to replace it with a $57 box off of eBay.
When driving alone, the seat occupancy sensor is also used to determine whether That Belgian Girl’s purse is overweight.
Mercedes is low key usually pretty on top of safety, close to Volvo levels.
“Our tireless safety engineers crash-test over 1,000 cars a year.”
I think that can also solve the problem when someone forget a kid or a pet in the car. It happens more often than it should. Usually when this kind of thing get to the news is because of the deadly results.
Also, using a camera can help in determining if a person is wearing the seatbelt properly. In my wife previous car, my kid used to wear it in a complete useless way, where he could freely move around.
Also, instead of beeping the driver, they should play a really annoying sound for the passenger not wearing (or wearing incorrectly) the seatbelt. That beep bothers me, not my kid. And he is already used to my yelling at him, so, this could be more effective.
For a moment after I read the title, I thought this article was about some crazy but genius Mercedes Streeter’s hack to fix some electrical gremlins
“evenly dispersed on the surface of the force”
What does that even mean?
I think it means you need a flat bottom for this to work. One of those beautiful bony behinds is going to throw a CEL.
Coming soon to your 2029 Mercedes dashboard:
“Air bag camera is blocked, vehicle disabled for safety. Contact dealer for service.”
*”Visit workshop for service.”
Hey Brian can we get a follow up explaining why when I put my groceries in the passenger seat I have to listen to the incessant beeping the whole way home? Sure I want my eggs to make it safely, and I want my cranberry mixer to make it but why is my car beeping when I have 2chalf gallon cranberry containers weighing less than 4 pounds beeping at me?
Buy a Citroen 2CV. The eggs are guaranteed to arrive safely, and there’s no room in the seat fabric or the car’s electrical system for a sensor. No beeps!
All car seats should be made out of rubber bands and canvas! 😀
My mom’s Dyane had the thin foam version. Awful.
Just a few weeks ago I was taking my cat to the vet and couldn’t get the seatbelt buzzer to stop yelling at me. I shifted the carrier around, buckled and unbuckled the belt – I even tried changing the seat adjustments!
I was starting to get really pissed off…. then realized my own seatbelt wasn’t on.
Now that is funny
https://imgflip.com/i/a9cq8u
How will the camera determine the weight of the person in the seat? I suppose it will guess?
It won’t. I look forward to the cardboard cutouts sold on ebay.
Just put a sticker on the camera, a person shaped tiny sticker.
Or a picture of your car cabin a few inches in front of the camera. Also works for nanny cameras that detect “drowzyness”
That’s the real solution for those pesky occupancy mats that you need to tear the whole seat apart to replace. Those cheap dongles will tell the car somebody is sitting there so the airbag will always fire. You just have to be careful not to let any small kids ride in the front seat, but you shouldn’t do that no matter what anyway.
It sucks I can’t put two bags of groceries without being annoyed the whole way home. On the bright side Thomas sourdough bagelsvare great