Happy Black History Month! I love any excuse to talk about very obscure, long-gone car companies, and this seems like the right time to talk about the C.R. Patterson & Sons car company, because, so far at least, they were the only black-founded, owned, and operated carmaker in America. I don’t doubt there will be more to come, but let’s take a quick look at the first.
You really can’t get a more dramatic literal rags-to-riches story than Charles Richard Patterson, who was born into slavery on a Virginia plantation way back in 1833; there aren’t really any clear records of Patterson’s early life, which isn’t too surprising, but it’s thought he assisted the plantation blacksmith and worked in the wagon maintenance and repair (would that have been considered a garage then?) prior to his escaping slavery.
Just before the Civil War broke out, Patterson was able to escape the cruelty of slavery and made it to Ohio, which was a free state. Patterson eventually made his way to Greenfield, Ohio, and found work with a wagon and coachbuilder, eventually becoming foreman of their operation. From there, Patterson went into business with J.P. Lowe, building coaches and carriages, and bought out Lowe in 1893, forming the C.R. Patterson & Son company, which was still a carriage making concern.
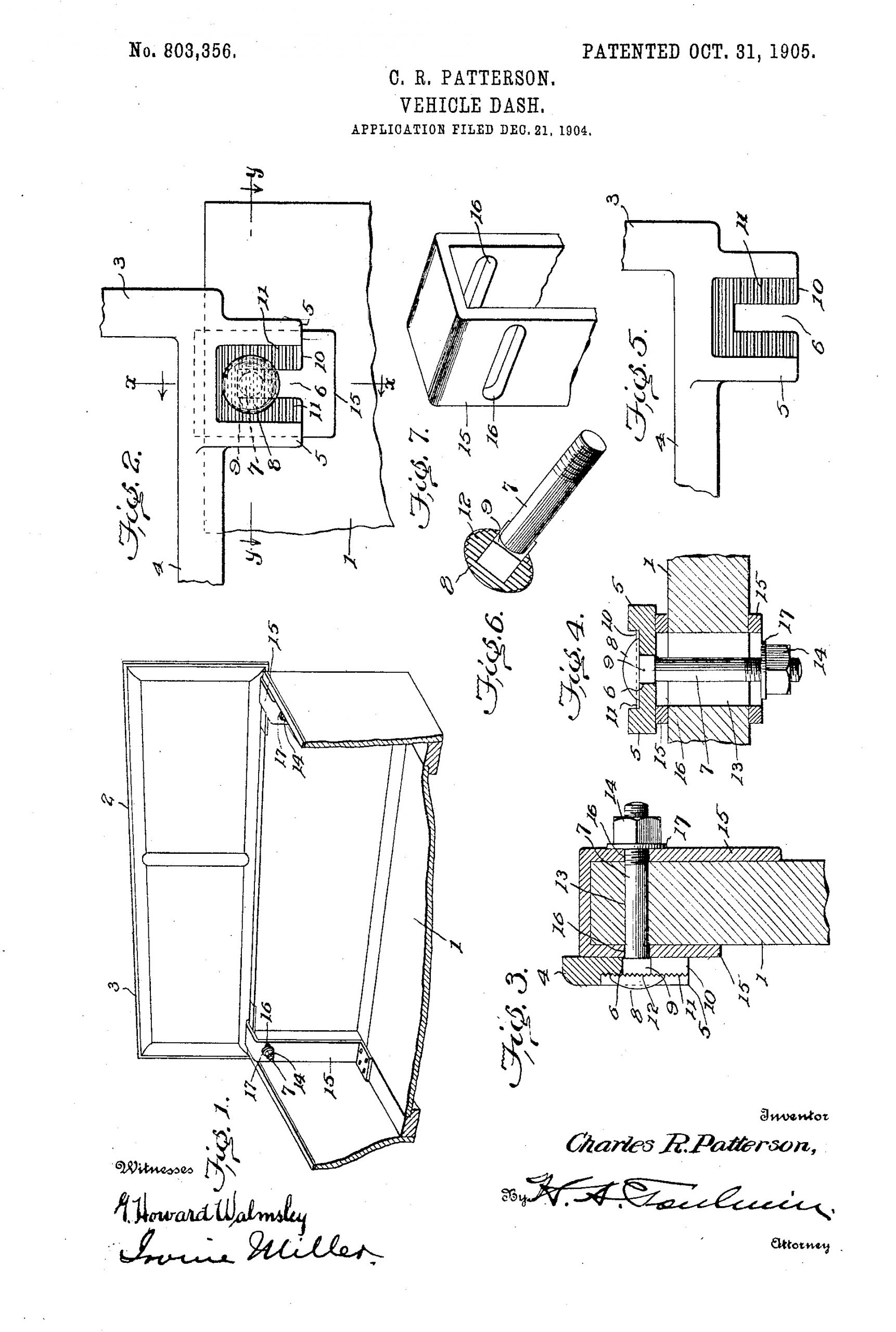
Patterson was awarded some patents over the years, including ones for furniture casters, buggy tops, and a “vehicle dashboard,” which was patented in 1905:

Patterson could see that horsepower from horsemeat was being usurped by horsepower from machines, and in 1909 the company began to build a garage for automotive repair and customization, as was noted in the September 15 issue of Horseless Age:
“C.R. Patterson & Son, of Greenfield, Ohio, will soon begin the erection of a modern garage at that place. A representative of the concern has been sent to Columbus and Cincinnati to secure ideas for the new structure.”
Sure, it’s not the most exciting article, but it’s a start.

C.R. Patterson died in 1910, but his son, Frederick Douglass Patterson, ran the business and made it into a successful repair/rebody-ing/reupholstering shop for the community. I like how that ad above notes they work on “Everything a Motor Drives – Everything a Horse Pulls.” That would about cover it.
Frederick was also the first black person to play football for Ohio State, so there’s that, too. Eventually, though, noting the growing demand for new cars, the decision was made to enter the car-building business. Of that decision, Frederick said:
“In 1902, there was one car to 65,000 people and by 1909 there was one vehicle for every 800 people and with those kinds of figures … I believe it’s time for us to build a Patterson horseless carriage”
By 1915, the Patterson-Greenfield car rolled out into the world, selling for $685 (a bit over $22,800 today), a price that, while higher than the much-more mass-produced Ford Model T, was nevertheless a fairly affordable car, and was a good bit better appointed than the Model T. As the Patterson-Greenfield advertising copy explains:
“Our car is made with three distinct purposes in mind. First — It is not intended for a large car. It is designed to take the place originally held by the family surrey. It is a 5-passenger vehicle, ample and luxurious. Second — It is intended to meet the requirements of that class of users, who, though perfectly able to spend twice the amount, yet feel that a machine should not engross a disproportionate share of expenditure, and especially it should not do so to the exclusion of proper provisions for home and home comfort, and the travel of varied other pleasurable and beneficial entertainment. It is a sensibly priced car. Third — It is intended to carry with it (and it does so to perfection) every conceivable convenience and every luxury known to car manufacture. There is absolutely nothing shoddy about it. Nothing skimp and stingy.”
Nothing skimp and stingy! Who wants skimp or stingy, anyway?

The car itself was a quite conventional-for-the-era design, but featured a lot of advanced features, including a fully-floating rear axle (where the axle itself only transmits torque to the wheels and does not have to support the weight of the car), full electric lighting, cantilever spring suspension, an electric starter, and a 30 horsepower, inline-four engine sourced from Continental. This was a pretty full-featured car for the time, especially for the money.
The company’s factory wasn’t a huge assembly line like Ford; it was a workshop where cars were built by hand, so the output was necessarily far less. It’s estimated that, at most, about 150 Patterson-Greenfield cars were made (there’s estimates of 30 for the least; it’s not clear at all, and no surviving examples exist), of varying models, including a speedster known as the Red Devil, which seems to be this handsome car with a pretty long and sleek hoodline:

One of the more famous pictures of Frederick Patterson during this era shows him in front of what could be a still-un-tire’d truck chassis, with what appears to be an inline-six engine, so it’s possible the company built some number of trucks in this era, or at least truck chassis:

Despite enjoying an excellent reputation for quality, there was really no way a small shop hand-building low-priced cars could compete with the mass-production might of a Ford or Chevrolet, and by 1919, the company called it quits on the car-building business, and became a coachbuilder for bus bodies.

The company was renamed the Greenfield Bus Body Company in 1932, when Frederick died, and for a while was a profitable maker of vehicles like school buses that were used throughout the midwest, especially.
Unfortunately, the Great Depression took its considerable toll, and by 1939 the company finally slammed its doors. It’s a shame the company didn’t make it, but not surprising considering the considerable obstacles and intense competition from huge companies with far more capital to spend on full factories and production lines.
Even so, you have to admire the fact that this is the only carmaker I’m aware of with a founder who was born into literal slavery, and through sheer talent, skill, determination, and force of will, managed to crawl out of such a miserable spot and manage to succeed, regardless. There was a huge boom of small carmakers in the early 20th century, but C.R. Patterson & Sons is absolutely worth singling out as something special.
One of our commenters mentioned to me that there was a Patterson in the 2025 movie Sinners. I saw the movie and somehow missed this, but I checked, and yes, there was!

What a fantastic deep-cut Easter Egg to slide into that movie! I didn’t think any actual Pattersons survived, so this may be a very well-executed reproduction, which is still pretty damn cool.
UPDATE: When I saw this movie, I thought this car was a Dodge Brothers car. In looking at it again, past my excitement that it might be a reproduction Patterson, I’m not so sure. I suppose I like the idea that it’s a Patterson, regardless. But it may just be a Dodge Brothers car.









Thanks Jason for another enlightening article!
Much like the African-American women who helped NASA in the 1960s or have performed other vital roles in industry or science, sometimes worthy people aren’t recognized because of the color of their skin. Or worse, have their contributions erased…
So, thank you.
No wonder the USA has lost the respect of so many in Europe, and generally abroad.
So much winning! /s
https://www.militarytimes.com/veterans/military-history/2025/11/14/netherlands-wwii-cemetery-removes-displays-honoring-black-soldiers/
“The Netherlands American Cemetery and Memorial in Margraten, the only American military cemetery in the Netherlands, has quietly removed panels displaying the contributions of Black American soldiers during WWII, sparking outrage from Dutch and American citizens.”
I believe the photo of the truck actually shows a 4-cylinder engine, not a 6: 4 exhaust ports are collected into the darker coloured header leading towards the rear of the vehicle, and 2 intake ports (feeding two cylinders each) on the same side are fed from a lighter coloured up-draft intake manifold. This is topped off by what looks like 8 spark plugs, two per cylinder.
Now I look closely, I agree with you. Did Patterson build their own engines? Or could this be an engine they bought in?
I did a tiny bit of searching and all I came up with is “it’s not a Model A engine” due to the intake/exhaust gubbins being on the wrong side.
Brilliant story, Jason. Truly inspiring, and what a bummer that the company was crushed by the Great Depression.
Sort of goes hand-in-hand with Matt’s theme for today’s Morning Dump.
Thanks for a great article!
I admire and feel inspired by C.R. Patterson and his family. Its important their history be remembered. I hope someone finds a Patterson-Greenfield to restore, or creates a well done reproduction. I wonder if any of the coach built bus bodies are still around.
I love that the phone number is simply 199. Also the line about watch your mail box for our monthly postal!!!! In the newsletter game all the way back in the 1910s
I love that at the bottom of the car ad it says “Good Work—Willing Work” to describe the company. Certainly a reference to the terrible unwilling work Frederick’s father endured as a slave.
Thank you for this. It’s unfortunate that, without any surviving examples, companies like this get forgotten (unless some enterprising journalist takes the time to write about them).
You’d be surprised how many cars from small brass-Era carmakers still exist, often in the little museums and collections nearest where they were first built. I bet someday, somewhere, one will turn up.
Over a century later, and that’s still a good selling point!! Excellent article.
Yeah, very few pull it off these days. Mercedes-Benz might as well rename themselves Florida, because they’ve got loads of orange peel
Will.i.am started a car company called iamauto, but they didn’t make anything. Recently he showed a three wheel EV at CES, but i think West Coast Customs is making them. That almost counts as another black owned car manufacturer.
I was thinking the same thing. He had a grand idea to create jobs (in Compton?) but it never went anywhere; IIRC, he even announced it on Top Gear. The prototype was said to be a reskinned DeLorean.
On one of the flyers, under the service section, that a drawing of guy that’s pointing. I guess that’s the mechanic showing you where your car is?
I can’t think of any ads that have a depiction of a mechanic.
The car from the movie photos is about a 1920 Dodge.
Thank you for this bit of hidden history – Well done!!
Today, I learned. Thanks for that!
Glad to see this company get some more recognition. I’m a brass era car enthusiast and I always found the CR Patterson story fascinating. I really wish there was a surviving example! Maybe one will be found in a barn someday.
Mr. C. R. Patterson was born in 1833, and – in a time when life expectancy was not what it is today – was earning patents when he was over 70 years old. That’s the best thing I’m likely to read today.
I’m curious about this one. Note that the driver-side wheels appear to have a lip on the inboard side but not the outboard side. (At least I think it does – pic isn’t terribly clear.)
I wonder if it was designed for a railroad-related function, and those un-tired wheels were meant to roll on the rails.
There is a Patterson in the movie Sinners. Quite a good fit car casting wise.
There is? Was it referenced? I’d love to see that, because I didn’t think any still existed, but even a repro would be cool
Oh I found it! Let me update!
Considering there are no Patterson cars in existence anymore, I don’t think there is one in Sinners. Might be a reproduction, maybe. IMCDB only says there’s a Dodge touring car in the movie, but there’s not even a screenshot of it.
I think this is wishful thinking on somebody’s part. I’m about 99.9% sure that car in the pics is a Dodge Brothers touring car, right down to the emblem on the radiator.
My eyes and tv were too old for me to see any badges on the car when I saw the movie. I believed what I read but it was the internet. We all know nothing false has ever been put out there.
If they had been able to hold on just a little longer, they might have benefitted from WWII production subcontracts, building truck and ambulance bodies or trailers, 1939 was so close